“This is really no different from saying ‘If my invention sees a problem, it solves it'”
The purpose of Project Troglodyte (ended in 2013) is to hunt for bad patents and to show what went wrong.
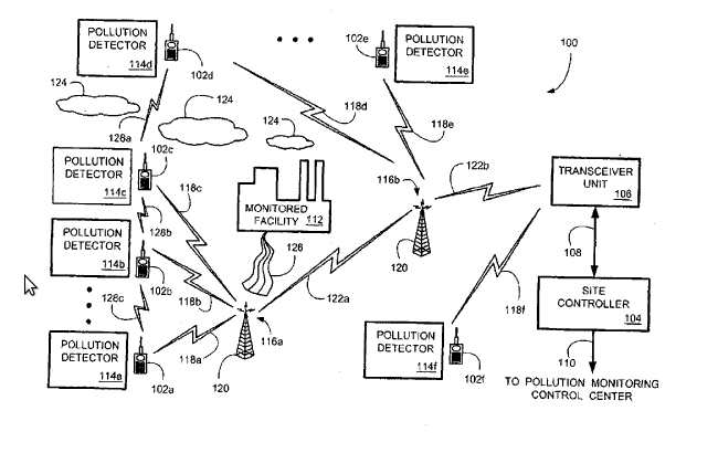
TRANSMITTING POLLUTION INFORMATION OVER AN INTEGRATED NETWORK
I’m starting my part of Project Troglodyte with something that might be unwise if I lived in the USA: I will dissect a patent which I think has value for just one purpose: trolling (see EFF article for more on patent trolls). I’m not saying anything that would cause legal problems, but it’s still good to have an ocean between me and the patent.
The patent is in the area of cleantech, and in particular pollution monitoring, which is a subject close to my heart. The case is particularly interesting because there are two connected patents: US7424527 (filed 2001, granted 2008) and its continuation US 7,739,378 (filed 2008, granted 2010). Differences in the two show how the patent system has changed in the last decade, and not for the better.
The patents are owned by Sipco LLC. Is Sipco a patent troll? I prefer not to commit myself at this point, but will let the reader decide himself, based on several articles (SmartGridToday, Green Patent Blog, CleanTech Blog). I have put Sipco on my list of companies to follow, but for this article I will only stick to these patents.

Figure 1: Schematic from the patent application
SECTION 1: SUMMARY
The 2008 patent basically claims the following invention: there are “pollution sensors” (whatever that means) that are connected by a wireless network to a monitoring site. When the pollution level gets too high, the sensors send a warning to the monitoring site. As far as I can determine, that’s basically it.
So what is the inventive step that makes the 2008 unique and worthy of a patent?
I don’t see one. It is difficult to be diplomatic about this particular patent: it has no real value, except for trolling purposes. (I also suspect the patent-filing system has been gamed; see Section 3 below for details). In the worst-case scenario, anyone sending pollution information via a wireless network may now need to pay Sipco royalties.
The original 2001 patent at least had a somewhat concrete application area: in principle, it was directly applicable to monitoring of pollution from industrial facilities, and helping operators make decisions when something unexpected happens. Even so, the “invention” was completely trivial even in 2001. It is somewhat astonishing that the patent was granted; in Section 3 I speculate on why this may have happened (though it is speculation only).
The 2008 patent, by contrast, is sort of applicable to the monitoring of some kind of pollution from something in order to perhaps do something. A pollution monitoring management controller is mentioned in Claim 13, but since it is a dependent claim, it can be dropped without really affecting the patent. The main claims are completely abstract.
But overall it is difficult to see much non-trolling value in the 2001 either. Just one example of its vagueness: on page 17, the patent describes what happens if one of the network elements stops working. “In such a situation, upon the detection of the failed transceiver or transceiver component, the pollution monitoring management controller 302 (Fig 3) redefines communication paths out to the transceivers, and transmits the redefined paths out to the transceivers, transceiver stations, transceiver units and site controllers such that the paths are redefined”. This is also the thing that is claimed in Claim 12. That’s all the information we’re given.
This is really no different from saying “If my invention sees a problem, it solves it”. One reason for the whole existence of the patent system is that it makes innovations public; the inventor has a monopoly on the use of his technology, but society has been given detailed information on how to build the invention. In this case, society has gotten zilch. Zilch on how to to build a robust system as claimed in Claim 12, and I’m afraid zilch on how to build anything in any of the other claims. And in the case of the 2008 patent, it’s somewhat vague what the “something” is that has been claimed to have been invented.
In fact, the benefit for society is less than zilch: it is negative. Now that the patents have been granted, the owner can (completely legally) use them to block any real progress in this area. If someone actually invests money and R&D into actually building a network like this, they will face the risk of litigation from the patent owner. And that risk will exist for the next 20 years, while the patents are valid. (In practice, the owner almost certainly has filed new continuation applications already, so the risk will continue infinitely).
This is unfortunately not paranoid speculation; as the articles show, this particular patent holder has shown no hesitation to sue. Cleantech companies can more or less expect future litigation from this direction.
SECTION 2: DAMAGE CONTROL
The damage has been done and the patents have been granted. The best damage control, of course, would be for someone to try to invalidate the patents on the basis that there existed prior art in 2001 which made the patents trivial. However, that is a cripplingly difficult and expensive process (see the EFF’s Patent Busting site).
Realistically, the only thing that could really be done is to design workarounds. These are extremely difficult due to the general nature of the patents. However, there may be a few weak points in the patents. It might be possible to find more if this were done professionally, but a volunteer project can only go so far.
Claim 1 (of both patents) requires that a message be generated “if a pollution level exceeding a predetermined threshold is detected”. In principle, if the detectors are polled at regular (or random) intervals, they would not infringe this patent. Thus this patent might have no effect on systems that monitor continuously. However, if the purpose is to warn of sudden rises in pollution, this is a problem.
One other workaround might be to use changing thresholds; several threshold values are stored in a central computer, and the pollution sensors get updated threshold values every now and then. (Note that this makes no practical sense whatsoever. But if the alternative is to spend years in litigation, it might be the less insane solution).
Claim 13 refers to a “pollution monitoring management controller”. Such a centralized controller is also evident in all the Figures. If the information management is completely distributed, so that there is no central controller facility, then the patent should be severely weakened. However, litigation is still probably possible.
[Addendum 13.8.2012 1405 UTC: A reader pointed to another way to circumvent this. Since the term “pollution” is not actually defined in the patent, one might work around the patent by steadfastly claiming that the sensors are not “pollution sensors”. Rather, they could for example simply be called “gas sensors” or just “detectors for determining the composition of the air”. Insane? Yes, but it might work. Please keep these ideas coming!]
SECTION 3: TECHNICAL ANALYSIS: SYSTEM GAMING?
There is something interesting about the 2001 patent, which looks like a boring technical detail but may reveal a lot. On any patent document’s first page, there is a section called “References cited” which lists patents that are related to the subject area (either found by the inventor, or by the patent examiner). They are, in effect, proof that the inventor knows what other people have invented, but has invented something different. Typically there will be 20-30 such references.
On the 2001 patent, there are more than four pages of references, double columns, small text. More than 500 references. I don’t recall seeing anything like this. I am not even sure what it exactly means. Most of the references seem to have been made by the drafting patent attorney, with only a few added by the examiner.
I have no idea what actually happened during this seven-year-long patent process, but I will try to imagine a scenario. Patent examiners work under serious time pressure (see for example Wolinsky 2010). I have heard a rumor that examiners have only two hours to process an application, but haven’t been able to find reliable references. Two hours is almost nothing, and if true, it really makes the system a lottery.
If I wanted to get a spurious patent through, I might submit an application with 500 references, without specifying at all how the references actually relate to the patent. That makes it look as if I have done serious research before filing, and makes it difficult for the examiner to reject it outright. There is no realistic way for the examiner to go through even a small part of the references, yet he has to make a judgment. It is basically spamming the examiner.
The 2008 patent has less than 100 cited references, but nine of these refer to USPTO decisions made in 2009 on other patents. I don’t have the competence to even speculate what exactly has been going on behind the scenes, but obviously something has.
The time from filing to granting of the 2008 patent was less than two years, which is very short (in comparison, it took seven years for the 2001 patent). Perhaps the process was speeded up by the fact that the 2008 patent is a continuation of the 2001 patent. Hence a lighter prior art examination was considered adequate. If so, this also points to a weakness in the system: once a spurious patent has been granted, it is easier to churn out new spurious patents based on the first one.
I wish I had less reason to feel cynical about this, but I don’t. Patents like this make me feel that my Trolling on the human rights essay is not dystopian at all. It is simply a description of our future.
Like this:
Like Loading...