SYSTEM AND METHOD FOR PREDICTING BEHAVIORS OF DETECTED OBJECTS
“Majority of the description text could be condensed to: autonomous vehicles should mimic the behavior of human drivers.”
The purpose of Project Troglodyte is to hunt for bad patents and to show what went wrong. For more information, please see the web page.
This patent is the fifth in a series of Google autonomous vehicle patents/applications analysed to get an understanding of the level of their inventions and the state of the autonomous car project.
Figure 1.
TIER 1: SUMMARY
It appears that the main purpose of the application is to expose a lot of prior art in one document, to make sure that it is easily found and public. This conclusion is made as there are about 12 000 words in the description but the claims only touch a very small part of it and much of the description text is obviously obvious to anyone skilled in the art, or misquoting from the application: “…understood by those of ordinary skill…“.
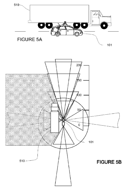
The actual idea that protection is sought for is changing how the vehicle is controlled based on detecting an object, classifying the object and based on the classification predicting the behavior of the object. And as Google is involved, creating a massive cloud based database of said behavioral data and sharing it around.
Majority of the description text could be condensed to: autonomous vehicles should mimic the behavior of human drivers. The description explains that processing of the object related information can be done at a location external to the car, this is also mentioned to be possible for the processing related to vehicle control decisions. This might open an interpretation that any controlling of traffic based on information originating in behavior prediction of single vehicles would fall under the protection of this patent. It would mean that any system arbitrating route decisions between vehicles to lessen traffic jams might need to license this.
Being able to predict behavior of nearby objects based on common experience is a valuable feature and will make traffic flow faster and safer. It isn’t mandatory for every autonomous vehicle though and thus wouldn’t likely block competitors from entering the field.
TIER 2: AVOIDING LICENSING
It seems that the possibility of using predictions of object behavior of nearby objects observed by other vehicles (or systems) is not mentioned. This would be useful in case large objects create shadows preventing direct observation. Using direct or network based vehicle to vehicle communication might be bandwidth limited in transferring the whole awareness of another vehicle. It would also be wasteful in use of processor resources as the same data would have to be analysed several times, so it would be prudent to transfer only information deemed important for other vehicles.
If the classification scheme is left out it makes it possible to implement simpler threat prediction based on observed speed and direction. It would still be possible to use context dependent database to predict that for example vehicles in the left lane are more likely to transfer to the right lane during a certain time window at a certain time. This would likely be good enough for autonomous vehicles, but it would be less optimal as the classification scheme will lower the number of times the vehicle needs to alter it course to accommodate other vehicles. Vehicle without the classification ability would likely appear more selfish but if all vehicles are eventually automated this would have less of an impact as it would now when all the drivers are humans.
TIER 3: TECHNICAL ANALYSIS
As stated above, major part of the description just portrays how humans approach driving. Context sensitive behavior prediction of classified objects is what humans are good at. But sharing the accumulated experience between humans is cumbersome. With this invention autonomous vehicles could share automatically on a massive scale. The invention here is not mind boggling, but they usually aren’t. I didn’t do a proper prior art search so it could already be out there, but generally this type of thing (essentially an optimization of a more general approach) is less likely to pop up in science fiction than most of the other stuff in the description.
The description is mostly useless. If the patent system worked, most of the stuff would have to be cut. If there is need to create prior art to stop trolls, write a white paper and publish it somewhere. For the price of a patent attorney it is probably possible to buy enough space in some regional newspaper to show the whole 12 kwords. On the other hand the description of the invention itself is very shallow in detail. Much more should have been given regarding possible ways to implement it, how to handle false identifications, how to handle different sensing abilities, who is responsible if bad data leads to accidents etc. Of course if the patent office doesn’t require this then it would be foolish for anyone to give it. Writing it down might have given a good patent engineer the chance to claim more and could have made this patent more valuable.
The claims only use a small portion of the text but cover that part fairly well. They are almost understandable, although the last one is complex enough that reading it requires more uninterrupted concentration than is usually available when the kids are around.
